SAF97齒輪減速機詳細信息
SAF97齒輪減速機
SAF97齒輪減速機重量:
SAF97齒輪減速機重量 | SAF97齒輪減速機配電機重量 | ||||||||||
SAF97-1.1KW | SAF97-1.5KW | SAF97-2.2KW | SAF97-3KW | SAF97-4KW | SAF97-5.5KW | SAF97-7.5KW | SAF97-11KW | SAF97-15KW | SAF97-18.5KW | SAF97-22KW | |
173Kg | 193Kg | 196Kg | 205Kg | 208Kg | 219Kg | 233Kg | 246Kg | 288Kg | 308Kg | 345Kg | 358Kg |
SAF97齒輪減速機潤滑油:
SAF97齒輪減速機潤滑油類型有礦物油,合成油,齒輪油。
SAF97齒輪減速機潤滑油類型 | SAF97齒輪減速機不同安裝方式的潤滑油加注量(升) | |||||
M1 | M2 | M3 | M4 | M5 | M6 | |
合成油 | 7.00升 | 14.00升 | 11.4/16.0升 | 20.50升 | 15.70升 | 15.70升 |
SAF97齒輪減速機電機溫度:
| 功率 | 空載溫度 | 負載溫度 |
| 100W | 45℃ | 60℃ |
| 180W | ||
| 200W | 50℃ | 62℃ |
| 250W | 50℃ | 65℃ |
| 370W | ||
| 400W | 47℃ | 67℃ |
| 400W | 52℃ | 65℃ |
| 400W | 42℃ | 60℃ |
| 550W | 50℃ | 68℃ |
| 750W | 50℃ | 85℃ |
| 750W | 51℃ | 62℃ |
| 1100W | 51℃ | 85℃ |
| 1100W | 55℃ | 80℃ |
| 1500W | 53℃ | 85℃ |
| 1500W | 50℃ | 94℃ |
| 1500W | 50℃ | 60℃ |
| 2200W | 55℃ | 90℃ |
| 2200W | 50℃ | 70℃ |
| 3000W | 51℃ | 80℃ |
| 3700W | 52℃ | 78℃ |
| 5500W | 50℃ | 65℃ |
| 7500W | 50℃ | 65℃ |
| 4000W | 50℃ | 65℃ |
| 5500W | 50℃ | 65℃ |
| 7500W | 50℃ | 65℃ |
| 5500W | 50℃ | 80℃ |
| 50℃ | 80℃ | |
| 50℃ | 80℃ | |
| 50℃ | 80℃ | |
| 50℃ | 80℃ | |
| 7500W | 50℃ | 80℃ |
| 50℃ | 80℃ | |
| 11KW | 23A | |
| 40 | ||
| 15kw | 31.5A | |
| 54.6 | ||
| 18.5KW | 37 | |
| 64.1 | ||
| 22KW | 43 | |
| 74.5 | ||
| 24KW | 47.7 | |
| 30KW | 57 | |
| 98.7 |
質量好的SAF97齒輪減速機:檢驗項目自鎖減速機
1.SAF97齒輪減速機機械性能檢測:振動、噪音異響速比軸跳動外觀型號氣密性;
2.SAF97齒輪減速機電器性能檢驗:漏電、電流平穩性空載電流;
3.SAF97齒輪減速機裝箱檢驗:減速機配套附件說明書、合格證。伺服電機渦輪渦桿減速機
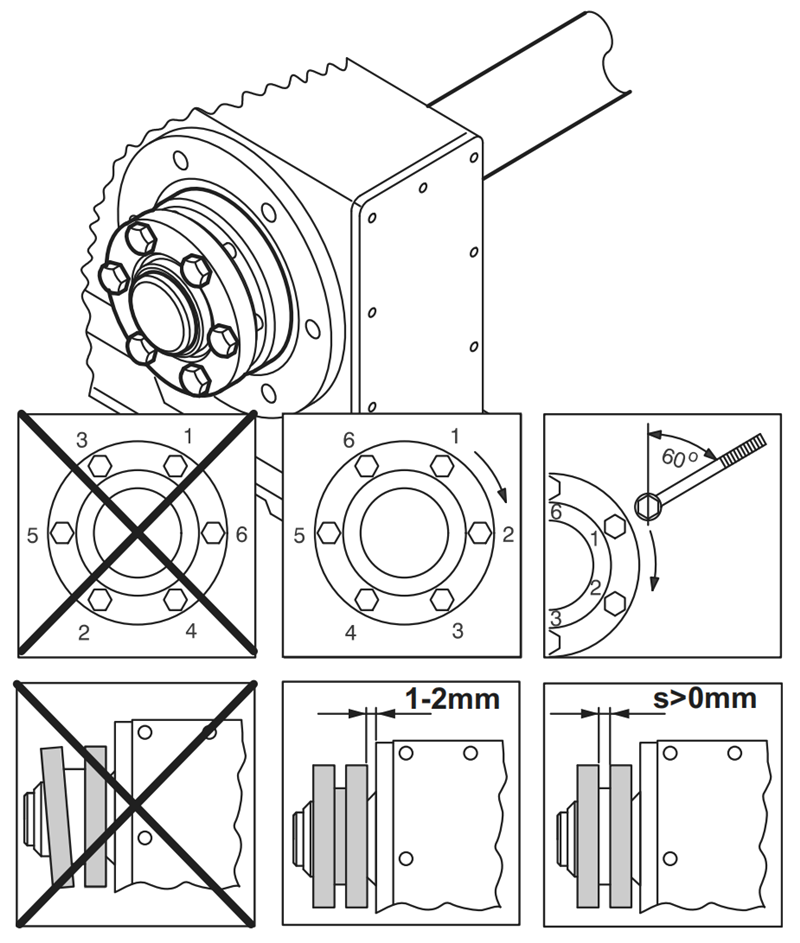
SAF97齒輪減速機鎖緊盤拆卸步驟:
依次旋轉四分之一圈松開拉緊螺釘,以避免對外圈造成傾斜。依次均勻擰開拉緊螺釘。毋需將拉緊螺釘完全擰出。卸下軸并從軸上拔出軸轂(必須事先清除可能在軸輪轂前形成的銹跡)。將鎖緊盤從空心軸上拔出。

重新安裝前,拆卸下的鎖緊盤不需要進一步拆分。若鎖緊盤沾有污垢請對其進行清潔并潤滑。采用類似于Molykote BR2或類似的通用潤滑油對拉緊螺釘進行潤滑。請采用下列固體潤滑劑對錐形面進行潤滑:
| 潤滑劑(Mo S2) | 潤滑劑形式 |
| 二硫化鉬潤滑劑321(潤滑漆膜) | 噴霧 |
| 二硫化鉬噴霧罐(粉末噴霧) | 噴霧 |
| 二硫化鉬G Rapid | 噴霧狀或者膏狀 |
| Aemasol MO 19P | 噴霧狀或者膏狀 |
| Aemasol DIO-sétral 57N(潤滑漆膜) | 噴霧 |
SAF97齒輪減速機選型參數:
| SAF97齒輪減速機負載扭矩 | 1770N.m,2040N.m,2210N.m,2330N.m,2470N.m,2570N.m,2600N.m,2870N.m,2900N.m,3010N.m,3080N.m,3200N.m,3230N.m,3240N.m,3300N.m,3300N.m,3440N.m,3510N.m,3650N.m,3730N.m,3840N.m,3920N.m,4000N.m。(以上扭矩均為四級電機得出扭矩,需要比上面更大的扭矩,可把電機功率加大,減速機型號加大,或者選擇跟R系列減速機組合使用) |
| SAF97齒輪減速機速比 | 286.4比,262.22比,231.67比,196.52比,180.95比,161.74比,145.6比,131.85比,116.92比,105.71比,89.6比,80.85比,78.26比,71.43比,65.45比,60.59比,55.79比,49.87比,44.89比,40.65比,36.05比,32.6比,27.63比,26.39比,24.13比,23.59比,21.23比,19.23比,17.05比,15.42比,13.07比,11.41比,9.55比,8.26比。 |
| SAF97齒輪減速機輸出轉數 | 4.9轉,5.3轉,6轉,7.1轉,7.7轉,8.7轉,9.6轉,11轉,12轉,13轉,16轉,17轉,18轉,20轉,21轉,23轉,25轉,28轉,31轉,34轉,39轉,43轉,51轉,53轉,58轉,59轉,66轉,73轉,82轉,91轉,107轉,123轉,147轉,169轉。(以上轉數均為四級電機算出的,可用2P,6P,8P計算,也可以用變頻電機調速,當需要特別低速輸出時,可選擇R系列減速機作為S系列減速機的輸入) |
| SAF97齒輪減速機配電機 | 可加三相,直流,變頻,剎車,防爆,伺服,交流,單相電機SAF97加1.1KW,SAF97加1.5KW,SAF97加2.2KW,SAF97加3KW,SAF97加4KW,SAF97加5.5KW,SAF97加7.5KW,SAF97加11KW,SAF97加15KW,SAF97加18.5KW,SAF97加22KW。 |
SAF97齒輪減速機銘牌含義:
SAF97-BVPEJ18.5KW-4P-93.19-M1-270°
:系列代號
:減速機規格代號
B:電機
VPEJ:變頻剎車電機
18.5KW:電機功率
4P:電機級數
93.19:減速機傳動比
M1:減速機安裝位置
270°:接線盒位置
SAF97齒輪減速機電機型號:

推薦類似型號:S97減速機
關鍵詞:伺服電機加渦輪渦桿減速機一體化_立式蝸桿減速機_立式蝸輪蝸桿減速機_GSAF系列減速機_SAF系列減速機_SAF系列減速器_伺服電機渦輪渦桿減速器_伺服渦輪渦桿減速機_立式蝸輪減速機
SAF系列蝸輪蝸桿減速機型號:SAF37減速機,SAF47減速機,SAF57減速機,SAF67減速機,SAF77減速機,SAF87減速機,SAF97齒輪減速機
SAF系列自鎖減速機可配變頻電機,剎車電機,防爆電機,伺服電機,交流電機,直流電機,三相電機,單相電機 0.12KW-22KW之間
如需工程師幫選型,請加微信13827261050,留言告知工程師參數要求
標簽:   SAF97齒輪減速機 SAF97減速齒輪箱 SAF97減速馬達 SAF97齒輪減速機廠家 SAF97齒輪減速機生產廠家
- 上一條SF77齒輪減速機
- 下一條SAF87齒輪減速機
